天眼查显示,深圳市华迅光通信有限公司近日取得一项名为“一种光猫设备网络测试工装”的专利,授权公告号为CN119316055B,授权公告日为2025年3月21日,申请日为2024年12月13日。

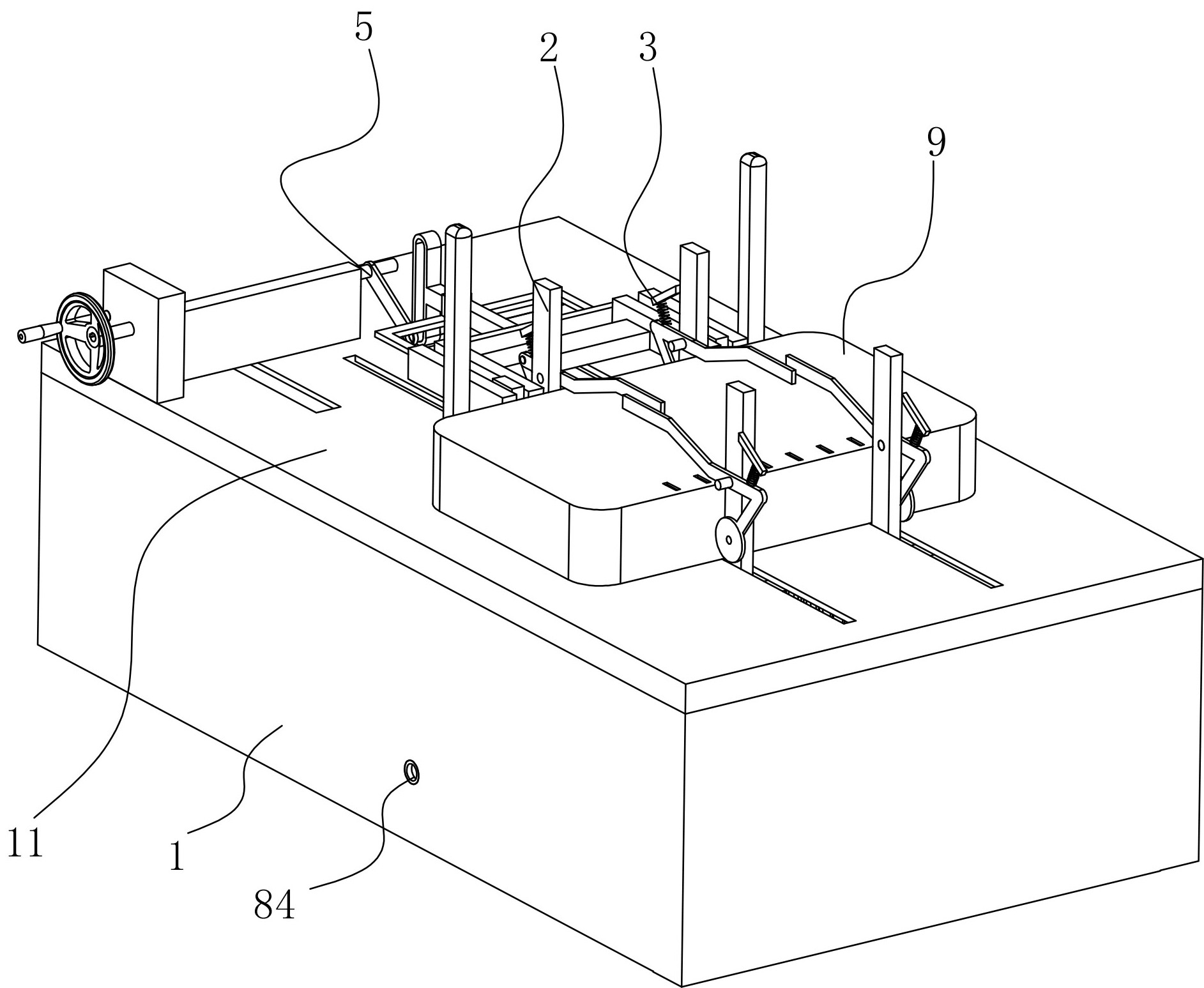
本发明涉及光猫测试技术领域。具体公开了一种光猫设备网络测试工装,包括安装箱,所述安装箱的顶部设置有测试台,所述测试台上设置有夹持组件,所述测试台上还设置有按压组件,所述安装箱的内部设置有第一安装座,所述第一安装座上设置有安装块,所述安装块上设置有第一接头,所述安装箱的内部设置有升降组件,所述测试台上设置有支撑座,所述支撑座上滑动设置有第一支撑块,所述第一支撑块上设置有第二接头,所述测试台上设置有驱动组件。本发明的优点是夹持组件以及按压组件能够对光猫进行固定,升降组件能够驱使第一安装座放置在光猫底部的凹槽中,驱动组件能够驱使第一接头以及第二接头插入光猫所对应的接口中。